恒兴股份IPO频换赛道直面1529万质量赔偿
不久前,湖南恒兴新材料科技股份有限公司(下称“恒兴股份”)正式披露北交所首轮问询回复,这份涵盖11大类问题的数百页文件,回应了监管关于生产经营合规风险、关联交易公允性、业绩增长真实合理性及可持续性、销售真实性及核查充分性、采购价格公允性及毛利率增长真实合理性等问题。
恒兴股份的资本化征程颇具波折。这家成立于1996年的企业,早年曾将上市目标锁定在深交所主板,试图凭借在家居涂料领域的积累冲击A股市场。
但在综合考量行业竞争格局与上市标准后,公司最终调整战略,于2024年10月30日先行登陆新三板。仅隔不足一年,恒兴股份便启动北交所上市计划,由财信证券持续担任辅导机构,而此次问询回复正是其闯关路上的关键一步。
从企业基本面来看,恒兴股份具备鲜明的技术型企业特质。作为国家级专精特新“小巨人”企业,其核心业务聚焦紫外光(UV)固化涂料和PUR热熔胶的研发、生产与销售,产品覆盖塑胶、地板、木器等多个九游体育官网基材领域,其中“PVC(石木塑胶)紫外光固化涂料”还被认定为国家级单项冠军产品。
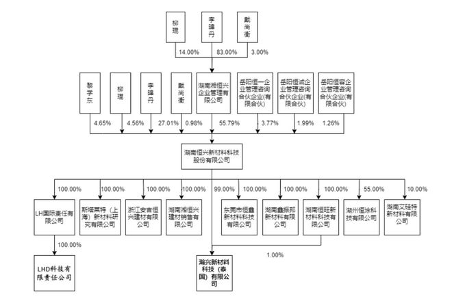
股权结构显示,李皞丹先生直接持有恒兴股份27.01%股权,并通过湖南湘恒兴企业管理有限公司(简称“湘恒兴”)间接控制公司55.79%股权,合计控制公司82.81%的表决权。他还在公司担任董事长、总经理、法定代表人。

从业绩来看,2022年至2024年,该公司营业收入从6.52亿元增长至8.79亿元,两年间增长率分别达15.75%、16.41%;归母净利润则从4604.20万元跃升至1.13亿元,展现出强劲的盈利增长动能。
不过2025年上半年受国内市场环境影响,公司营收同比下降5.09%至4.13亿元,归母净利润同比减少13.99%至6111.35万元,但海外市场的突破成为重要支撑——东南亚区域收入同比增长28.27%,此前布局的越南、泰国生产基地正逐步释放效能。
此次问询回复也坦诚揭示了公司发展中的待解难题。最受关注的是2024年的产品质量赔偿事件:因UV阻燃腻子、底漆的阻燃剂吸潮问题,导致客户木地板出现大面积起泡变色,公司为此支付赔偿款1529.85万元,占当年净利润的12.6%。
对此,公司在回复中明确归因于研发阶段对环境适应性评估不足,并表示已升级品控流程,目前未影响与核心客户的合作。此外,子公司恒旺新材曾因未取得排污许可证先行生产、安全施工不规范受罚,报告期内还存在个人卡收付款、实际控制人资金占用等内控瑕疵,这些问题均在问询中被重点追问,公司也披露了相应的整改措施与进展。
从深交所到新三板再到北交所,恒兴股份的上市之路虽历经调整。此次问询回复不仅是对监管关切的正式回应,更是企业梳理自身发展脉络、完善治理体系的契机。对于这家深耕涂料领域近三十年的企业而言,如何将技术优势转化为持续盈利动能,以规范经营应对资本市场考验,将是其能否最终敲开北交所大门的关键。
热门文章排行
- 闯关北交所!这家涂料企业超一半营收赚自海
- 学府壹号院顺利交付
- 聚脲乙烯防腐防水涂料灰色以利于建筑物内部
- 绿色进博共享未来:第七届进博会彰显绿色发
- 以材料之名铸家国之基
- 建设项目环评拟批准公示]沃伦常青涂料(江
- 聚氨酯PU柔性防水涂料每种类型都有其适用
- 三棵树收盘上涨115%滚动市盈率8212
- 什么是环保涂料?环保涂料的品牌及标准介绍
- 第十九届东北地区建筑涂料行业年会在沈阳成
最新资讯文章
- 重磅!韶关市310亿重点项目提速:交通算
- 企业价值250亿美元!阿克苏诺贝尔与艾仕
- 浙江省粘接技术协会涂料分会九届七次理事会
- 孙公司接《通知》集泰股份两募投子项目因环
- 一批知名家居家装企业2025动荡或破产真
- PET泡沫(涤纶树脂)行业现状洞察与未来
- 恒兴股份IPO频换赛道直面1529万质量
- 百年老建筑“出圈”!哈尔滨解锁城市打卡新
- 建材产品CE-CPR认证!建筑相关产品C
- 从深耕到跃升:北新建材的“十四五”答卷
- 哈尔滨首批配售型保障房项目全面实现冷封闭
- Ai热搜|保利都汇和煦售楼处发布保利都汇
- 2025节能建材行业发展现状与产业链分析
- 钛酸酯行业现状洞察与发展趋势前瞻
- 2025“华涂杯”建筑涂料涂装创新成果大
- 2025年中国防腐木行业现状分析与发展趋
- 苏式建筑外墙涂料工艺要求外墙涂料施工工艺
- 郑勇义:以初心赴赛场以匠心守行业-全国仿
- 严重声明!这家涂料厂深陷“诈骗”旋涡!
- 中国涂料行业代表团赴欧考察




